Ковши норийные M
Ковши норийные M
Узнать цену
О продукте:
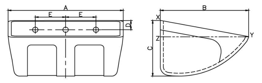
Ковши норийные модели M, подходят для различных элеваторов с более широким диапазоном скорости подъема и большей грузоподъемностью. Идеально подходят для работы с зерном, кормами, удобрениями, семенами, солью и химикатами и т. д.
Преимущества:
- Износостойкость
- Оптимальный угол разгрузки
- Высокий уровень воды для большей вместимости
Параметры:

